上市刚半年的“顺风车第一股”,惹上大麻烦了。
近日,一名19岁女孩爆料称,自己在乘坐嘀嗒出行顺风车时,在高速上被司机赶下车,司机将其拖拽下车时,导致其脚踝受伤。
该事件一经媒体报道后,引起网友广泛关注。随后嘀嗒出行也对事件进行回应称,涉事司机已被永久封禁,平台正在核实处理。
但事件并没有就就此平息。在嘀嗒出行回应后,当事人再度发声,将矛头又指向了嘀嗒出行。

1月6日上午刚一开盘,嘀嗒出行就一度暴跌超15%。而自去年6月28日圆梦港股以来,短短半年时间,嘀嗒出行股价已经从6港元的发行价,跌至如今盘中最低1.3港元,股价跌幅已超78%。
如今,司机将乘客丢在高速上一事,又将嘀嗒出行的安全和合规问题拉到前台上。
1
被丢高速19岁女生再度发声
嘀嗒出行回应“刻意误导”,导致其遭受网暴
据媒体报道,2024年12月30日上午,19岁在校大学生小康在嘀嗒出行下单了独享顺风车,从天津蓟州大学城赶往天津滨海国际机场。
上车前,司机联系女孩称车上有一名自己的亲属,如果她不介意,可以为她减少15元车费。女孩答应后如约上车,但在司机与这位“亲属”的交谈中,她发现司机口中所谓的“亲属”,其实是另一位乘客。此外,司机还在联系另一拉客的订单,这意味着要绕一段远路。
急着赶往机场的小康尝试与司机沟通,不料却换来司机的怒火。不能让人接受的一幕随之发生:司机将车停在津蓟高速应急车道上后,将女孩拖拽下车,并将其行李从后备箱中扔到路上。
在被拖下车的过程中,女孩脚踝受伤,幸好一位好心车主将她带离高速路,但她最终还是因为此事未能顺利赶上飞机。
1月5日,针对此事,嘀嗒出行发布官方情况说明,梳理行程相关信息。表示平台在接到投诉后第一时间确认乘客安全后,并立即跟进核实,平台已封禁车主账号,并积极协助相关部门处理中。
但回应发出后不久,当事女孩又再次发声,但这次矛头对准了嘀嗒出行平台。
据羊城派报道,女孩认为,嘀嗒出行的这份情况说明似乎意在“转移矛盾点”。
情况说明中提到女孩迟到了十几分钟。对此描述,女孩承认责任在自己。也表示自己当时曾向司机提出由她取消订单,并予以司机已相应补偿。但司机选择等她上车,并称可以准时送她到机场。
女孩表示,在这一点上,自己和司机都没有错,但平台的说明却让她单方面变成有错,“这种做法属于转移矛盾点。重点是司机把我丢在高速路上!”

另外,平台还在说明中刻意提到自己的主播身份,女孩表示,自己提到主播身份索要误工费完全是出于气愤,后续沟通中也只是索赔了医药费和机票费,但平台刻意提到这一点,将舆论引到她的主播身份上,也导致她收到很多恶意评价,甚至是私信辱骂。

此外,女孩还透露,自己在事发当天就向平台反应情况,平台回应4~6小时反馈,但直到三天后也没有任何消息。
因为脚踝受伤,女孩目前已经花费医药费1000多元。平台那边也先后提出以15元、50元、300元代金券补偿,但都被女孩拒绝了。
“我选择曝光此事,就是因为平台不负责任的态度。我自始至终只想要一个道歉。”
2
顺风车收入占9成以上
投诉问题4年来依旧没有改善
顺风车业务,是嘀嗒出行的最大收入来源。
和其他网约车不同,嘀嗒出行并不拥有或租赁车队车辆,其收入主要来自向平台提供顺风车搭乘的司机车车主收取服务费。
这种轻资产模式,也让嘀嗒出行有着极高的毛利率。
2020年~2023年,嘀嗒出行提供顺风车平台服务的毛利率分别为86.7%、85.4%、79.5%、75.9%。尽管逐年下滑,但依旧保持75%以上的毛利率,堪比医美行业。
据此前招股书显示,2021年至2023年,嘀嗒出行的营业收入分别为7.81亿、5.69亿和8.15亿。其中,顺风车服务费分别为6.95亿元、5.15亿元、7.74亿元,占总营收的比重分别为89.1%、89%和91.1%,且这一数据还在增加中。
而这个嘀嗒出行最依赖的业务,也是问题最多的。
此前嘀嗒出行4年5次IPO,最大的问题就是安全和合规。这也是始终悬在嘀嗒出行头上的一把达摩克利斯之剑。
招股书透露,由于缺乏适用于网约车服务发牌制度相关的牌照,2020年至今,嘀嗒出行顺风车平台共发生57宗行政处罚。其中,36宗后续已撤销,余下21宗行政罚款由5000元至3万元不等,合共约为55万元。
嘀嗒出行2022年4月公布数据显示,其每周封禁和警告的顺风车车主,平均分别超过2000名和4000名,涉及违规多拼、诱导线下交易、人车不符、严重爽约、收取额外附加费等多种违规行为。
如今,两年时间刚过去了,上述问题依旧层出不穷。
互联网投诉平台黑猫投诉显示,目前,嘀嗒出行累计共有21720万条相关投诉,不仅有乘客控诉司机绕路、强制拼单、故意爽约等问题,还有司机投诉平台乱扣费、封号、乘客不付高速费等问题。

这次引发全网热议的司机把乘客丢在高速路边事件,也并不是个例。
比如,有乘客就在黑猫投诉上控诉称,自己晚上10点打顺风车,结果司机中途绕道40公里送人,把车开到乡村小道,引起乘客担忧,在联系客服处理无果后,便报警处理。警方到来后,表示订单纠纷问题不归警察管,所以将乘客带到安全地带后便离开了。而司机这时候也自行取消订单走了。把乘客一个人留在陌生小镇上。

3
股价半年跌去75%
市值蒸发近45亿港元
投资人亏麻了
作为国内首个提出顺风车概念,并主打顺风车业务的出行平台,嘀嗒出行也曾备受资本追捧。
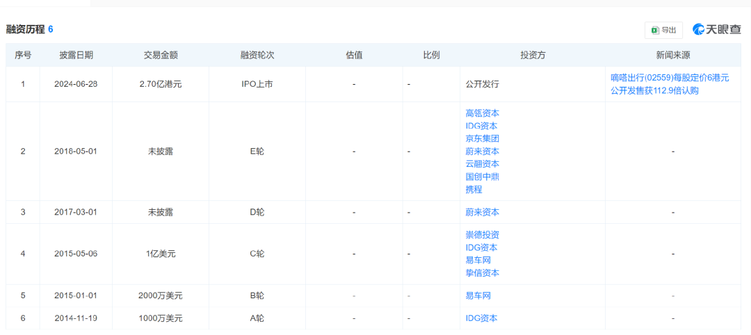
天眼查显示,嘀嗒出行自成立以来,共完成了6轮融资,吸引了包括蔚来资本、IDG、崇德资本、易车网、高瓴资本、京东及携程等多家知名投资机构的支持。

2015年嘀嗒完成由IDG及易车等机构及企业投资者牵头的B轮融资,同年,完成1亿美元C轮融资。2017年,嘀嗒完成由蔚来资本牵头的D轮融资。IPO前,宋中杰、李金龙、朱敏、段剑波及李跃军5位联合创始人通过5brothers Limited持有公司33.11%,为大股东。
但4年里5次冲击IPO,迟迟未上市的嘀嗒出行,估值不断缩水,俨然成了投资人眼中的“烫手山芋”。
在2018年E轮融资时,嘀嗒出行估值相较C轮融资,缩水了35%。而根据此前招股书中优先股公允价值变动来看,嘀嗒出行2023年的估值较2022年显著下降。
终于在2024年6月28日,嘀嗒出行顺利圆梦港交所。
但上市当天就跌破6港元的发行价。之后的半年里,嘀嗒出行股价持续下行。
12月27日,嘀嗒出行首批股东禁售期正式届满后。而在禁售期届满之前,股东们就已经开始蠢蠢欲动。据媒体报道,有大户们已于2024年12月初开始先行部署,陆续将至少2.1亿股或21%嘀嗒出行存入CCASS,并转到不同券商仓位。
果不其然,12月27日一过,嘀嗒出行股价又开始进入直线暴跌。
从12月27日收盘时的1.930港元一路下泄,截至2025年1月6日收盘,股价已经跌至1.490港元。5个交易日跌去超22%。

仅上市以来,嘀嗒出行股价就累计跌了75%,市值蒸发近45亿港元。
而上述早期投资者,更是已经亏麻了。
参考资料:
1.《困在顺风车里的嘀嗒》妙投app

发布评论
评论