
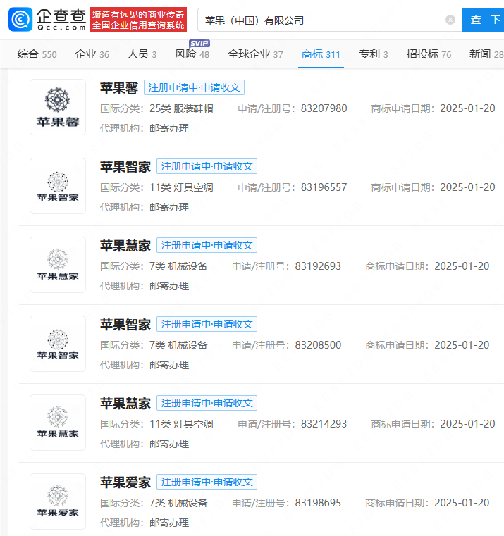
企查查APP显示,近日,苹果(中国)有限公司申请注册多枚苹果智家、苹果慧家、苹果爱家、苹果花等商标,国际分类涉及服装鞋帽、灯具空调、机械设备等,当前商标状态为注册申请中。资料显示,苹果(中国)有限公司由美国苹果集团全资持股。


近日,苹果(中国)有限公司申请注册多枚苹果智家、苹果慧家、苹果爱家、苹果花等商标,国际分类涉及服装鞋帽、灯具空调、机械设备等。
2025-02-14 阅读量:93156

企查查APP显示,近日,苹果(中国)有限公司申请注册多枚苹果智家、苹果慧家、苹果爱家、苹果花等商标,国际分类涉及服装鞋帽、灯具空调、机械设备等,当前商标状态为注册申请中。资料显示,苹果(中国)有限公司由美国苹果集团全资持股。


发布评论
评论